বাংলাদেশ জাতীয় তথ্য বাতায়ন
অফিসের ধরণ নির্বাচন করুন
স্বায়ত্তশাসিত
মন্ত্রণালয়
মন্ত্রণালয় বিভাগ
অধিদপ্তর / বিভাগ / এজেন্সী / সংস্থা
ব্যাংক / বীমা / আর্থিক প্রতিষ্ঠান
শিক্ষা প্রতিষ্ঠান
রেজাল্ট
প্রকল্প
প্রশিক্ষণ
সরকারি মাঠ পর্যায়ের অফিস
বিদেশী দূতাবাস/মিশন
বিভাগীয় পোর্টাল
জেলা পোর্টাল
জেলা পরিষদ পোর্টাল
সিটি কর্পোরেশন পোর্টাল
উপজেলা পোর্টাল
পৌরসভা পোর্টাল
ইউনিয়ন পোর্টাল
যান
Thursday February 2026
হটলাইন
English
মেনু নির্বাচন করুন
আমাদের সম্পর্কে
অফিস সম্পর্কিত
এক নজরে
আমাদের অর্জনসমূহ
সাম্প্রতিক কর্মকান্ড
ভবিষৎ পরিকল্পনা
ভিশন ও মিশন
জনবল
অফিস প্রধান
প্রাক্তন অফিস প্রধানগণ
কর্মকর্তাগণ
কর্মচারীবৃন্দ
সাংগঠনিক কাঠামো
তথ্য প্রদানকারী কর্মকর্তা
ঊর্ধ্বতন অফিস
বিভাগীয়/ উপজেলা কার্যালয়
বিভাগীয় কার্যালয়
উপজেলা কার্যালয়সমূহ
অধিদপ্তর /বিভাগ/মন্ত্রণালয়
অধিদপ্তর
মন্ত্রণালয়/বিভাগ
ই-সেবা
জাতীয় ই-সেবা
নথি
বাংলাদেশ ফরম
ই-মোবাইল কোর্ট
ভূমি সেবা
সেবাকুঞ্জ
অনলাইন আবেদন
ই-বুক
উত্তরাধিকার ক্যালকুলেটর
ই-তথ্য কোষ
মোবাইল অ্যাপ
নথি (এনড্রয়েড ফোন)
নথি (আই ফোন)
বাংলাদেশ-ডিরেক্টরি (এনড্রয়েড)
বাংলাদেশ পর্যটন (এনড্রয়েড)
উত্তরাধিকার ক্যালকুলেটর (এনড্রয়েড)
গ্যালারি
গ্যালারি
ফটো গ্যালারি
ভিডিও গ্যালারি
যোগাযোগ
অফিস যোগাযোগ
ডাক যোগাযোগ
অনলাইন যোগাযোগ
যোগাযোগ ম্যাপ
যোগাযোগ ম্যাপ
কীভাবে যাবেন
মতামত
মতামত ও পরামর্শ
আরও
সংক্ষিপ্ত
উপজেলা কৃষি অফিসারের কার্যালয়, নবাবগঞ্জ, দিনাজপুর
এই কনটেন্টটি শেয়ার করতে ক্লিক করুন
আপনার মতামত প্রদান করুন
আপনার মতামত প্রদান করুন
আপনার নাম
নাম অবশ্যই দিতে হবে
আপনার ইমেইল
সঠিক ইমেইল দিন
আপনার যোগাযোগ নম্বর
সঠিক ফোন নম্বর দিন (যেমন 017XXXXXXXX)
আপনার মতামত
মতামত কমপক্ষে ২০ অক্ষরের হতে হবে
Attachment (jpg, jpeg, png, pdf • max 2 MB)
Invalid file. Allowed: JPG, JPEG, PNG, PDF up to 2MB
জমা দিন
সেবা এবং ধাপ
এডভান্সড অপশনগুলো দেখান
গ্রুপ অনুসারে
কিছুই না
শিরোনাম
পৃষ্ঠা আইটেম
১০
২০
৫০
১০০
নং
শিরোনাম
সেবার ধাপ
কার্যকলাপ
১
সিটিজেন চার্টার
দেখুন
২
বীজ
দেখুন
৩
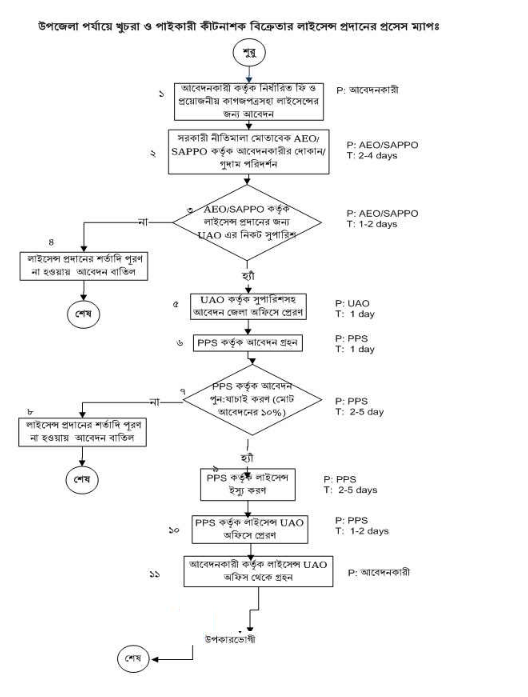
লাইসেন্স প্রদান ও নবায়ন
দেখুন
৪
প্রশিক্ষণ
দেখুন
৫
ফসলের জাত
দেখুন
৬
ভর্তুকি
দেখুন
৭
বালাই ব্যবস্থাপনা
দেখুন
৮
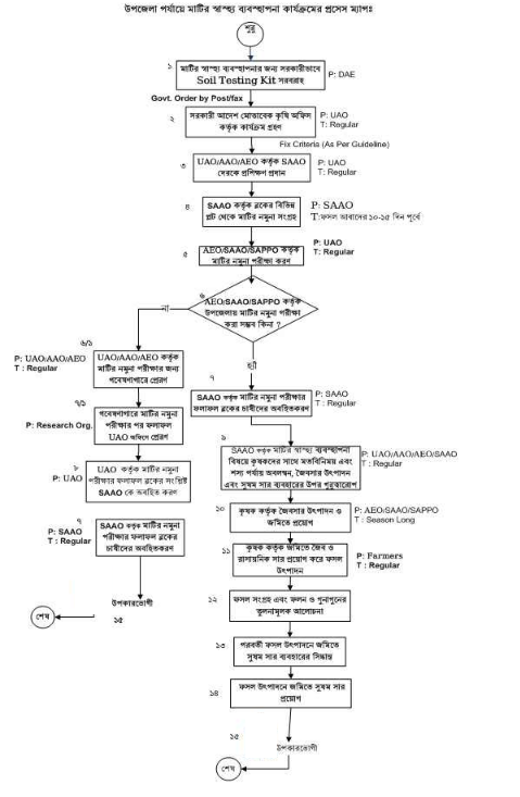
মাটি ব্যবস্থাপনা
দেখুন
৯
লাইসেন্স
দেখুন
১০
সার
দেখুন
১
পৃষ্ঠায় যান
আর্কাইভ দেখুন
প্রকাশিত দেখুন
দেখছেন ১ থেকে ১০ পর্যন্ত, মোট ১০ এন্ট্রি
এই কনটেন্টটি শেয়ার করতে ক্লিক করুন
আপনার মতামত প্রদান করুন
আপনার মতামত প্রদান করুন
আপনার নাম
নাম অবশ্যই দিতে হবে
আপনার ইমেইল
সঠিক ইমেইল দিন
আপনার যোগাযোগ নম্বর
সঠিক ফোন নম্বর দিন (যেমন 017XXXXXXXX)
আপনার মতামত
মতামত কমপক্ষে ২০ অক্ষরের হতে হবে
Attachment (jpg, jpeg, png, pdf • max 2 MB)
Invalid file. Allowed: JPG, JPEG, PNG, PDF up to 2MB
জমা দিন
এক্সেসিবিলিটি
ফন্ট বৃদ্ধি
ফন্ট হ্রাস
মনোক্রোম
ইনভার্ট
বড় কার্সর
লিঙ্ক হাইলাইট
শিরোনাম হাইলাইট
পড়ার গাইড
রিসেট
স্ক্রিন রিডার ডাউনলোড করুন
কন্টেন্টে চলে যান
এক্সেসিবিলিটি মেনুতে যান